Agitation of Digesters

►Back to Biogas Portal

Overview

The term 'agitation' subsumes different ways of homogenising the substrate or mixing it with water and co-substrate:

  • Mixing and homogenizing the substrate in the mixing chamber
  • Agitation inside the digester
  • Poking through the in- and outlet pipes (small scale plants)

Agitation of the digester contents is important for the trouble-free performance of a biogas-plant.


For the following reasons agitation is recommended several times a day:

  • to avoid and destroy swimming and sinking layers
  • to improve the activity of bacteria through release of biogas and provision of fresh nutrients
  • to mix fresh and fermenting substrate in order to inoculate the former
  • to arrive at an even distribution of temperature thus providing uniform conditions inside the digester


Even without mixing device, there is a certain agitation through the raising gas, through the movement of substrates with different temperatures and by the inflow of fresh substrate. This agitation, however, is usually insufficient. A well agitated substrate can, leaving other parameters constant, increase it's biogas production by 50%.

Agitation, as a general rule, should be performed as much as necessary but as little as possible. Too frequent mixing with fast rotating, mechanical agitation devices can disturb the biological processes in the fermenting substrate. In addition, an all-too thorough mixing of the whole digester contents may lead to half-digested substrate leaving the digester prematurely.



RTENOTITLEPhoto[1]: Mixing device in an agricultural digester under construction

Mixing Methods

Simple mixing methods have been installed mainly in developing countries:

  • tangential inlet and outlet pipes
  • separation walls
  • forced substrate flow
  • vertical hand-operated rotors
  • horizontal, hand-operated paddle rotors
  • poking through inlet and outlet


Mixing Through Inherent Flow

In fixed dome plants, frequently found in developing countries, a certain mixing of the substrate is provided by the substrate being pushed up in the compensation tank with gas accumulation. When the stored gas is used, the substrate flows back into the digester.



RTENOTITLEPicture[2]: Mixing of substrate through inherent flow in fixed-dome plants


The company "VSP-Anlagen" further developed and patented this principle:

Through the pressure of the biogas, the substrate is pushed from the main digester into the subsidiary digester, resulting in a difference of levels between the two digesters. By reaching a certain difference in levels, a gas valve opens between main and subsidiary digester which equalizes the height difference. The flow-back of the substrate is guided in a way that destroys sinking and swimming layers.


Mechanical Paddle Rotor

Mechanical paddle rotors are predominantly used in horizontal steel vessels. A horizontal shaft in hardwood bearings runs through the whole vessel. Attached are paddles or loop-shaped pipes. By turning the shaft the vessel contents are mixed, the swimming layer is broken up and sediments are pushed towards a drainage opening. The loop-shaped pipes can also be used as heat exchangers to warm up the substrate.



RTENOTITLEPicture[2]: Mechanical paddle rotor

RTENOTITLE Picture[2]: Submerged motor with rotor stirring



Submerged Motor with Rotor Stirring

A sealed, submerged electric engine directly drives a rotor. The rotor mixes the substrate by creating a strong current. These stirring devices can usually be adjusted in height and in angle.


Shaft-driven Rotors

The mode of operation of a shaft-driven rotor is comparable to that of a submerged engine with rotor, only that the rotor is driven via shaft by an engine or by hand. The shaft should be movable in height and in angle to allow a mixing throughout the digester. The shaft should be long enough to reach both swimming and sinking layers.



RTENOTITLEPicture[2]: Shaft-driven rotor


The rotor shaft can be inserted in two principle ways:

  • Through the digester wall below the slurry level with water-tight sealing
  • Through the gas-holder with gas-tight sealing



RTENOTITLEPicture[2]: Hydraulic mixing

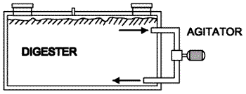
Hydraulic Mixing

With a strong pump the whole substrate can be put in motion, provided the intake and outlet of the pump are placed in a way that corresponds with the digester shape. These pumps are often placed in a central position to cater for other tasks.


Mixing Through Injection of Biogas

A piping system with gas-jets is installed at the bottom of the digester. The raising biogas bubbles provide a gentle mixing of the substrate. The main problem with these systems is slurry entering into the piping system. This can be avoided by fixing pieces of elastic hose-pipe with stainless steel hose coupling to the jets.



RTENOTITLEPicture[2]: Mixing through injection of biogas


Hydraulic mixing by injecting biogas should not be used if the formation of swimming layers is a prevailing problem. Gas bubbles attach themselves to larger fibrous particles and lift them upwards, thus speeding up the formation of a swimming layer. Chopping up the substrate by means of chopper pumps or chopper rotors can only partly solve this problem.


Further Information


References

  1. Kraemer
  2. 2.0 2.1 2.2 2.3 2.4 2.5 TBW