Introduction

Follow this replacement guide to replace the Fascia Film of the ventilator. You will need,

  • 3 mm Allen key
  • Phillips screwdriver, size 1
  • Knife with a smooth, flat blade

These steps are not difficult but need to be followed carefully.

For more information on replacing the fascia filter, please refer to page 45 in the service manual.

  1. wIwjQr1tLHPcxJJ4
    • Open the device

    • 1.Place the device on a non-slip surface with the top facing downwards

    • 2.Remove the filter cassette from the top part of the housing.

    • 3.Undo and remove the 6 screws (34)

  2. 3VPlsJ1ZDWHwykNm
    • Remove the mains supply unit

    • Disconnect the power board/mains supply unit connecting cable (45) from the power board.

    • Slightly lift mains supply unit (44) and disconnect the mains input connector from the mains supply unit (44).

    • Lift the mains supply unit out of the top part of the housing.

    • Disconnect the power board/mains supply unit connecting cable from the mains supply unit.

  3. KnSFoNov4DTW4sub
    KnSFoNov4DTW4sub
    xsLTmKkwg2OCZByC
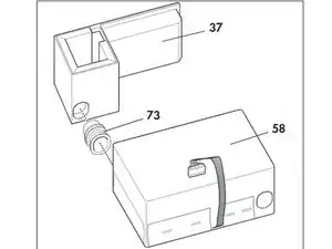
    • Remove box and filter holder

    • Release the pressure-side hose (74) from the box.

    • Lift box (58) and filter holder (37) out of the top part of the housing together.

    • Disconnect the box and the filter holder from one another by undoing the intake-side hose (73) from both parts.

  4. VMXJuHZ3F6Mavd6S
  5. TduWTFNKiX5O1rDo
    • Peel the protective film off the inside of the new fascia film and affix fascia film (33) to this area of the housing.

    • Ensure that the ribbon cable is pushed cleanly through the opening in the housing without any kinks.

    • Carefully pull the outer protective film off the new fascia film using a fingernail.

  6. psTp6ePvmoUwYfe2
    psTp6ePvmoUwYfe2
    3Q5ahJK4AjQAbXYN
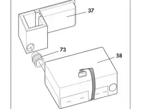
    • Refit the box and filter holder.

    • Connect the box and the filter holder to one another by reconnecting the intake side hose (73) from both parts.

    • Refit box (58) and filter holder (37) back on the top part of the housing together.

    • Connect the pressure-side hose (74) from the box.

  7. DcMr1ampgRZKJbQq
    • Refit the mains supply unit

    • Reconnect the power board/mains supply unit connecting cable from the mains supply unit.

    • Put the mains supply unit back in the top part of the housing.

    • Reconnect the mains input connector from the mains supply unit (44).

    • Reconnect the power board/mains supply unit connecting cable (45) from the power board.

  8. JirId3PvS6ZhMQQX
    JirId3PvS6ZhMQQX
    hnN1ArnK43ZBNAOZ
    • Close the device

    • Hold the bottom part of the housing (35) up to the side of the top part of the housing (36)

    • Plug the connecting cables for the humidifier (42) and the alarm (43) onto the relevant connectors.

    • Check that all hoses and cables are plugged on firmly.

    • Place the bottom part of the housing (35) on the top part of the housing (36). Ensure that no cables or hoses are trapped or bent.

    • Now screw the top part of the housing tight using the 6 screws (34).

    • Then turn the device back over

Conclusion

To reassemble your device, follow these instructions in reverse order.

Jay Vidinoff

Member since: 08/04/20

610 Reputation

0 comments