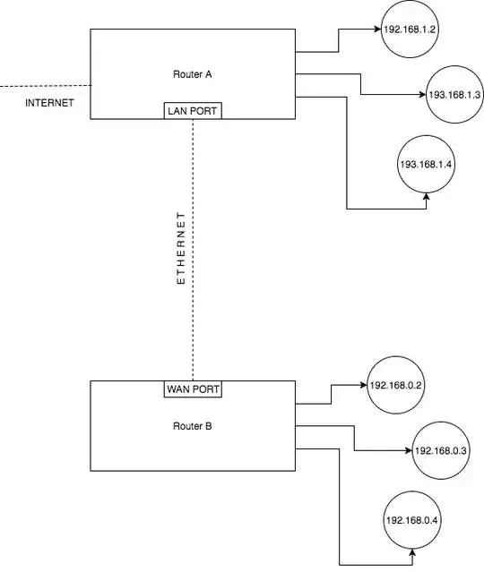
I have a setup using two routers, say Router A and Router B, that looks something like this:
Quite simply, I am cascading Router A and Router B, Router B's WAN port being connected to Router A's LAN port. Router B is a LAN client on Router A with IP 192.168.1.201.
The current situation is that all clients on Router B can access Router A without a problem (for example, 192.168.0.4 can access 192.168.1.3).
I know that a static route must be set up on Router A to route any requests to subnet 192.168.0.* to the secondary router (192.168.1.201). I have done this:
However, for some reason, it is still impossible to reach Router B's LAN from Router A. This is the result of a ping:
jo@axch ~ % ping 192.168.0.1
PING 192.168.0.1 (192.168.0.1): 56 data bytes
Request timeout for icmp_seq 0
92 bytes from 192.168.1.1: Redirect Host(New addr: 192.168.1.201)
Vr HL TOS Len ID Flg off TTL Pro cks Src Dst
4 5 00 0054 779c 0 0000 3f 01 8155 192.168.1.102 192.168.0.1
Request timeout for icmp_seq 1
92 bytes from 192.168.1.1: Redirect Host(New addr: 192.168.1.201)
Vr HL TOS Len ID Flg off TTL Pro cks Src Dst
4 5 00 0054 356e 0 0000 3f 01 c383 192.168.1.102 192.168.0.1
^C
--- 192.168.0.1 ping statistics ---
3 packets transmitted, 0 packets received, 100.0% packet loss
At this point, I am at a loss on how to perform this very simple task. If it helps, I have noticed that Router B seems to be unreachable in Router A (as in, trying to ping 192.168.1.201 fails). I am not sure how that is since Router B clearly reports that its LAN address is 192.168.1.201.

